公司动态

了解最新公司动态及行业资讯

太阳能热脱附的污染土壤修复系统

2017-11-14 06:25:53 190 编辑:admin 来源:本站
    土壤修复技术种类很多,其中热脱附技术属于土壤修复技术中的物理修复范畴,通过直接或间接加热污染土壤到较高温度,使土壤中的有机污染物组分从土壤介质中蒸发到气相而分离出来。热脱附技术由于采用非氧化燃烧方式能够显著减少二噁英的生成,可以广泛应用于高污染有机污染场地的异位或原位修复。但是由于热脱附的加热过程需要消耗大量的热能,相关的土壤污染处理设备的价格也较昂贵、处理成本高,因此限制了热脱附技术在有机污染土壤修复中的应用范围,所以开发和研究绿色节能的土壤修复治理设备具有重要意义。
    本实用新型提供了一种太阳能热脱附的污染土壤修复系统,利用热脱附技术原理,以太阳能作为热源,把用于热脱附的空气加热,并将加热后的热空气注入和分散到污染土壤中进行热脱附。通过该系统热空气最高温度可到 150℃,能够满足大多数有机污染组分与土壤介质的脱附分离 ;本实用新型采用的热源太阳能属于清洁能源,克服了传统的燃料能源日益减少,燃烧过程中危害环境的问题 ;采用的槽式太阳能集热装置,聚光集热效率高,投资成本较低。
    一、本实用新型解决关键技术问题所采用的技术方案是 :
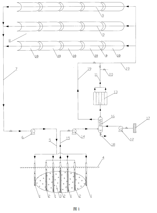
    设计一种太阳能热脱附的污染土壤修复系统,其特征在于,所述系统包括污染物真空抽吸系统、太阳能集热系统和气体加注系统,具体包括加热扩散井 (1)、抽取井 (2)、混凝土硬化地面 (4)、气体加注管道 (5)、空气压缩机 (6)、输气管道 (7)、槽式太阳能集热器列阵 (8)、集热管 (9)、槽式太阳能聚光集热器 (10)、输气管道 (11)、鼓风机 (12)、活性炭吸附装置 (13)、真空泵 (14)、输气管道 (15)、气液分离器 (16)、空气过滤器 (17)、输气管道(19)。
    根据管道和装置内的介质流向,装置连接顺序 :
    太阳能集热系统和气体加注系统,空气过滤器 (17) →鼓风机 (12) →气液分离器(16) →输气管道 (19) →集热管 (9) →输气管道 (7) →空气压缩机 (6) →气体加注管道(5) →加热扩散井 (1) ;
    污染物真空抽吸系统,抽取井 (2) →输气管道 (15) →真空泵 (14) →气液分离器(16) →活性炭吸附装置 (13) →输气管道 (11)。
    本实用新型采用槽式太阳能集热器列阵 (8) 获取的太阳能,槽式太阳能集热器阵列 (8) 由多个槽式太阳能聚光集热器 (10) 串并联组成,槽式太阳能聚光集热器 (10) 由槽型抛物面反射镜、集热管 (9)、阳光跟踪系统组成 ;太阳能集热器列阵 (8) 用于加热空气,然后空气压缩机 (6) 将热空气加压输送至污染土壤区域的加热扩散井 (1),用于对污染土壤加热。
    本实用新型采用的气液分离器 (16) 内安装空气盘管,空气盘管分别与鼓风机(12) 和输气管道 (19) 相连通 ;空气输气管道 (7)、输气管道 (19) 和气体加注管道 (5) 外敷设保温层,避免热量损失 ;整个土壤污染区域表面由混凝土硬化地面 (4) 覆盖。
    二、与现有技术相比,本实用新型的有益效果是 :
    本实用新型提供一种太阳能热脱附污染土壤修复系统,适用于修复治理受到苯系物、卤代烃类和石油类的挥发性和半挥发性有机物污染的土壤。
    本实用新型采用清洁能源太阳能作为热源,并极大限度的回收污染土壤抽取气体的热量。
    本实用新型采用槽式太阳能集热装置,热效率高,投资成本较低。
    三、附图说明
  太阳能热脱附的污染土壤修复系统的生产工艺流程图
    图 1 为太阳能热脱附的污染土壤修复系统的生产工艺流程图。
    图中 :加热扩散井 (1)、抽取井 (2)、污染土壤 (3)、混凝土硬化地面 (4)、气体加注管道 (5)、空气压缩机 (6)、输气管道 (7)、槽式太阳能集热器列阵 (8)、集热管 (9)、槽式太阳能聚光集热器 (10)、输气管道 (11)、鼓风机 (12)、活性炭吸附装置 (13)、真空泵 (14)、输气管道 (15)、气液分离器 (16)、空气过滤器 (17)、气液分离器液体排放口 (18)、输气管道(19),气体排放阀 (20)。

30

装备制造经验

立即免费获取土壤修复方案

为用户提供及时、高效、便捷的服务

在线咨询
AG视讯环境希望与你携手,共创美好未来...
5