行业动态

了解最新公司动态及行业资讯

重金属土壤淋洗设备及浸出液处理方法

2018-11-15 01:27:49 208 编辑:admin 来源:本站
   土壤是由各种矿物组成的大自然主体,是调控环境的中心要素。随着人口快速增 长、工业迅速发展,产生的大量污染物导致土壤环境受到不同程度的污染。 重金属是一类毒性比较大且具有潜在危害的无机污染物,可以在土壤和生物体内 进行富集。与大气、水体中重金属污染相比,土壤中的重金属污染具有隐蔽性、累积性、滞后 性、修复周期长且毒性强和易被生物吸收的特点。 
     我国黄河以北广大北方地区,土壤重金属污染形势严峻,对局部重金属重度污染 小型区域,采用化学土壤淋洗手段进行重金属污染物的去除,北方土壤基本呈现弱碱性,针对土 壤特性,通常采用有机酸做为淋洗剂。在化学淋洗的过程中,以浸出液的形式将重金属从土 壤中提取出来,在此过程中,土壤重金属被移除,但浸出液含大量重金属,需要被妥善处理。 
土壤淋洗

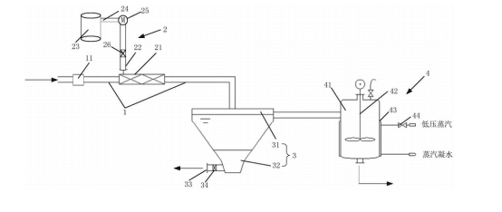
     重金属土壤淋洗设备及浸出液处理方法,涉及土壤重金属污染处理技术领域,包括沿物料的输送方向依次连接的输送管路、药剂添加组件、沉淀组件和结晶组件;浸出液和经药剂添加组件添加的药剂从输送管路进入沉淀组件内,并被净化成上清液和沉淀物;上清液进入结晶组件内结晶回收。本发明的目的在于提供一种浸出液处理装置、重金属淋洗设备及浸出液处理方法,能够将土壤重金属淋洗浸出液处理成沉淀物和固体废物回收,从而减少浸出液对自然环境的二次污染。

30

装备制造经验

立即免费获取土壤修复方案

为用户提供及时、高效、便捷的服务

在线咨询
AG视讯环境希望与你携手,共创美好未来...
5