土壤筛分之振动筛
2018-09-12 00:57:56
135
编辑:admin
来源:本站
在矿业行业,随着矿产资源的大规模开采和利用,粗粒嵌布、易磨易选的矿石已经 越来越少,而一些细粒嵌布、难磨难选矿石的开采利用给选矿技术和设备提出了更高的要 求。对于选矿行业来说,传统的细粒物料筛分方法可以分为水力分级和机械筛分分级,水力 分级最常见的设备是水力分级机和水力旋流器,机械土壤筛分设备主要是振动筛。 而在实验室进行粒度筛析主要可以分为人工筛分和机械筛分。人工筛分又可以分 为干筛和湿筛,干筛主要是应用于粗粒筛分,对于一些微细粒级的筛分往往使用人工湿筛, 劳动强度大,而且微细粒容易团聚,筛分效率很低。机械筛分主要是由电机带动筛体振动, 在机械力的作用下使细粒物料透筛,由于是干筛,机械振动强度不够,细粒很难透筛,筛分 结果和实际相差很大。
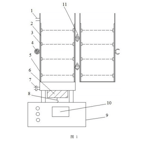
传统的实验室土壤筛分设备,主要是对粗粒进行筛分,而对于一些较细的颗粒,尤其是 1mm以下的微细粒级的筛分,主要是人工进行湿筛,常规的筛分设备筛分效率低,而且在水 中进行筛分时,微细颗粒容易团聚,微细粒很难透筛。 微细粒土壤筛分设备,主要由桶体、超声波发生器、底座和超声波控制装置组成,桶体桶壁内侧设有多个卡座,可以放置单层筛子,也可以同时放置多层筛子形成套筛。本实用新型是利用超声波对介质强烈的机械作用,让小于筛孔尺寸的颗粒在水中充分透筛,尤其对微细粒具有很好的筛分效果,结构简单,容易操作,广泛使用于矿业、化工、建材等行业。
联络方式:
郑州市长椿路11号国家大学科技园孵化1号楼513
电话:0371-61772378
邮箱:desenhuanjing@163.com
微信公众号
AG视讯环境抖音号