行业动态

了解最新公司动态及行业资讯

组合滚筒式土壤筛分怎么实现不同目数筛分

2018-08-20 00:59:43 168 编辑:admin 来源:本站
     现有的土壤样品预处理过程中,由于分析测试项目的要求不同,需要将土壤样品通过不同规格的筛网进行分离,筛分成适宜大小的颗粒进行实验。目前的土壤筛分工作主要由人工操作完成,如出现土壤采样量大,批次多,筛分规格要求多的情况,人工作业劳动强度较大,工作效率也很低下。
土壤筛分
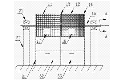
    组合滚筒式土壤筛分装置,包括:第一筛网以及目数不同的第二筛网,在第一筛网和第二筛网之间设置有连接件,在第一筛网和第二筛网的两侧远端分别设置有端口部,穿过两个端口部中心位置设置有转轴,第一筛网和第二筛网可拆卸地固定在两个端口部上,并形成圆筒状;在转轴两端分别设置有轴承,在第一筛网和第二筛网的正下方设置有土壤收集箱,在收集箱的底部设置有第一抽屉和第二抽屉,第一抽屉设置在第一筛网的正下方,第二抽屉设置在第二筛网的正下方。本实用新型所述组合滚筒式土壤筛分装置,通过设置连接件将第一筛网和第二筛网连接固定在一起,并形成圆筒状,实现不同目数筛分,这样只要一次,即可实现不同目数筛分。

30

装备制造经验

立即免费获取土壤修复方案

为用户提供及时、高效、便捷的服务

在线咨询
AG视讯环境希望与你携手,共创美好未来...
5