行业动态

了解最新公司动态及行业资讯

土壤筛分修复是怎么改善土壤的

2018-08-17 01:25:58 135 编辑:admin 来源:本站
     现在农业种植上常常将 PE 薄膜覆盖到土壤上,从而提高土壤的温度、保持土壤内 的水分、并且有效维持土壤内部组成结构 ;还可抑盐保苗、改进土壤光热条件,使农作物卫 生清洁。总之,地膜覆盖通过对土壤的上述保持和调整从而提高了土壤的供给能力和平衡 能力,使之更能抵抗害虫侵袭和微生物病虫害,改善了植物的生长环境并且也提高了植物 的生长能力。
     但是,随着地膜使用量的增加,覆膜带来的问题也接踵而至。据调查,江苏苏北地 区的西瓜地里,地膜残留量平均每公顷 267kg,并且随着地膜使用量的增加和实用年限的延 长,污染越来越重。 
土壤筛分

     残留在土壤中的地膜会影响作物的发芽和长势,而且还会影响养分和水分的转 移,对农作物根系的生长影响很大,产量低下 ;同样,农田残留地膜还会导致土壤环境恶化, 土壤含水量下降,削弱抗旱能力,造成土壤板结,影响作物生长。 
     现有的土壤筛分装置,在对土壤破碎筛分处理时,存在筛分不均匀,无法同时进行 筛分机土壤修复工序,处理效果不理想。 
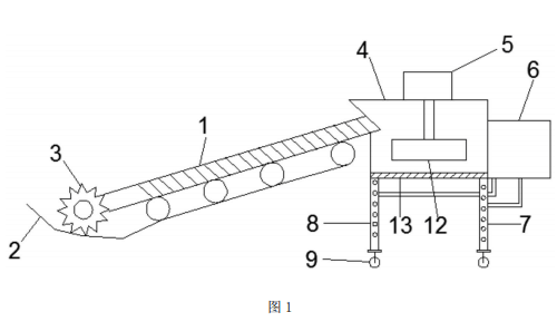
一种土壤筛分修复装置,所述土壤筛分修复装置包括土壤输送带,所述土壤输送带前端安装有取土铲,所述土壤输送带后端连接有土壤处理箱,所述土壤处理箱内安装有薄膜吸附机构,所述薄膜吸附机构下方安装有筛分装置,所述筛分装置下方安装有药液喷洒装置;所述药液喷洒装置通过输送管与药液储存箱连接。本发明能将翻土、粉碎、筛分、喷药修复等工序同时进行,筛分效果好,能有效除去地膜、坚固的杂物,分离效率高;本发明结构简单,药液喷洒装置上的药液喷洒孔交替排列,药液与土壤混合更均匀,土壤除杂、修复时间短,而且修复后的土壤能在长时间内保持松软和较强的透气性。

30

装备制造经验

立即免费获取土壤修复方案

为用户提供及时、高效、便捷的服务

在线咨询
AG视讯环境希望与你携手,共创美好未来...
5