教你怎么用土壤修复设备取样
2018-03-26 08:34:43
135
编辑:admin
来源:本站
土壤修复是使遭受污染的土壤恢复正常功能的技术措施,在土壤修复行业,已有 的土壤修复技术达到一百多种,常用技术也有十多种,大致可分为物理、化学和生物三种方 法,二十世纪八十年代以来,世界上许多国家特别是发达国家均制定并开展了污染土壤治 理与修复计划,因此也形成了一个新兴的土壤修复行业;在土壤修复的过程中需要先对待 修复的土壤进行取样检测。
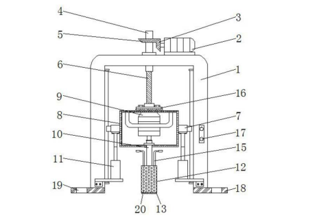
目前在对土壤进行取样时,大多都采用普通的手动取样器进行人工取样,然而,这 样的取样方式取样效率较低,且取样十分费力,每次取样人员在的待修复的土壤进行取样 时都会花费取样人员大量的工作时间,增加了取样人员的工作负担,降低了取样人员的工 作效率,不能实现既快速又方便的进行取样,从而给人们的土壤修复工作带来了极大的不 便。 针对现有技术的不提供了一种用土壤修复设备取样装置,解决了取样 效率较低,且取样十分费力,不能实现既快速又方便进行取样的问题。 这种用土壤修复取样装置,包括U型支撑架,所述U型支撑架的顶部通过连接块固定连接有升降电机,所述升降电机输出轴的外表面套设有第一锥齿轮,U型支撑架的顶部且位于升降电机的一侧通过轴承转动连接有螺纹套筒,螺纹套筒的底部贯穿U型支撑架并延伸至U型支撑架的内部,螺纹套筒位于U型支撑架顶部的外表面套设有与第一锥齿轮相互啮合第二锥齿轮,本实用新型涉及土壤修复设备技术领域。该土壤修复用取样装置,大大提高了取样效率,节省了大量劳动力,无需花费取样人员大量的工作时间,减轻了取样人员的工作负担,实现了既快速又方便的对待修复土壤进行取样,从而大大方便了人们的土壤修复工作。
联络方式:
郑州市长椿路11号国家大学科技园孵化1号楼513
电话:0371-61772378
邮箱:desenhuanjing@163.com
微信公众号
AG视讯环境抖音号