行业动态

了解最新公司动态及行业资讯

了解多功能土壤修复设备

2018-03-02 08:10:31 173 编辑:admin 来源:本站
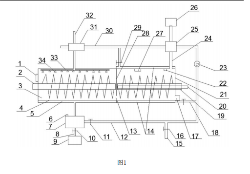
          土壤污染的治理措施大致有物理、化学、生物等几类方法,其中,土壤淋洗修 复技术因具有适用范围广、见效快、效果显著等优势而被广泛采用。现有土壤淋洗修 复技术 主要针对重金属、苯系物、石油、卤代烃及多氯联苯等化学污染物的淋洗,并不能解 决土壤 中的有机物污染,因此通常需要另外采取生物或物理修复技术来处理土壤中的有机物 。目 前的土壤修复设备仅能去除化学污染物或有机污染物,功能单一,尚未有可同时去除 化学 污染物或有机污染物的多功能土壤修复设备。 
 
         多功能土壤修复设备,包括修复箱,修复箱内设有隔板,隔板将修复箱分割成喷淋修 复室和热解吸修复室,修复箱两侧的侧壁上分别设有进料口和出料口,喷淋修复室内 设有第一螺旋输送机,热解吸修复室内设有第二螺旋输送机,隔板下端设有通孔;喷 淋修复室内设有喷淋装置,喷淋装置连接有淋洗剂进管,喷淋修复室的底部为滤网, 滤网下方设有集液腔;热解吸修复室内设有土壤加热装置,顶部连接有废气管道;废 气管道上设有第一换热器,淋洗剂进管上设有第二换热器,集液腔通过淋洗剂冷管与 第一换热器的入口连接,第一换热器的出口通过淋洗剂热管与第二换热器的入口连接 。本设备可同时去除土壤中的化学污染物和有机污染物,并且废气热量可回收利用。

30

装备制造经验

立即免费获取土壤修复方案

为用户提供及时、高效、便捷的服务

在线咨询
AG视讯环境希望与你携手,共创美好未来...
5